Каталог поставляемого оборудования
Камеры сборные одностороннего обслуживания КСО |
|
Камеры сборные одностороннего обслуживания серии КСО-393
Камера КСО-393 |
Камеры КСО-393 напряжением 6-10 кВ предназначены для комплектации РУ переменного трехфазного тока частотой 50Гц систем с изолированной нейтралью.
Камеры КСО-393 устанавливаются в закрытых помещениях трансформаторных подстанций, в машинных залах и других местах, недоступных для не инструктированного персонала и являются камерами одностороннего обслуживания. При монтаже камеры скрепляются между собой болтами.
|
Структура условного обозначения
КСО-393:
КСО-3 93-ХХ ХХ-ХХ-У3
| КСО |
Камера сборная одностороннего обслуживания |
| 3 |
Модификация |
| 93 |
Год разработки |
| ХХ |
Номер схемы первичных соединений |
| ХХ |
Номинальное напряжение:
06- 6 кВ,
10- 10 кВ, |
| Х |
- Номинальный рабочий ток, А:
При U н=6 кВ
1-31.5, 2-50, 3-80, 4-100, 5-160, 6-630
При U н=10 кВ
1-31.5, 2-40, 3-63, 4-80, 5-100, 6-630 |
| Х |
Наличие сигнализации
о перегорании предохранителей:
0-отсутсвует, 1- имеется |
| УЗ |
Климатическое исполнение и категория размещения по ГОСТ 15150-69 |
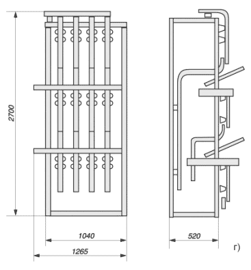
Габаритный чертеж КСО-393:



а) КСО-393-03, КСО-393-04
б) КСО-393-15, КСО-393-16
в) КСО-393-40
г) КСО-393-50
Камеры КСО-393 выполняются по схемам первичных соединений, приведенным в таблице (см. схемы первичных цепей ). Они комплектуются выключателями нагрузки с ручным приводом, разъединителями и другими аппаратами высокого напряжения в зависимости от схемы, ошиновкой и шинными мостами.
При заказе комплектных распределительных устройств (КРУ) компоновка камер серии КСО-393 производится в соответствии с опросным листом.
Совместно с камерами КСО- 393 в соответствии с заказом поставляются торцевые панели и шинные мосты (ШМ, ШМР). Необходимость включения шинных мостов и торцевых панелей в комплект поставки указывается в опросном листе.
Структура условного обозначения шинного моста:
ШМ ХХ У3
| ШМ |
Шинный мост |
| Х |
Наличие/отсутствие разъединителя
Р- с разъединителем |
| Х |
Расстояние между фасадами камер, мм
1 ~ 2000 мм
2 ~ 2500 мм
3 ~ 3000 мм |
| УЗ |
Климатическое исполнение и категория размещения по ГОСТ 15150-69 |
Шинные мосты для КСО-393:


а) без разъединителей
б) с разъединителями
Схемы первичных цепей
ВНИМАНИЕ! Расчет стоимости оборудования осуществляется после заполнения опросного листа.
Опросный лист на КСО-393
|